OK Nous utilisons des cookies pour analyser et améliorer votre navigation sur notre site Internet.
Sur notre page RGDP, vous trouverez de plus amples informations et d’options pour les désactiver.
Recherche
MENU Catalogue Global Sites
BAMO
FRANCE
Fabricant français de capteurs et d’instruments pour le contrôle et l’analyse des fluides
Vous êtes actuellement dans BAMO FR » Nos Produits » Catalogue Général » Débit » SGK 1-3
Catalogue Général 728-05
SGK 1-3
SGK 1-3     Débitmètre pour faible débit
Débitmètre pour faible débit
SGK 1-3


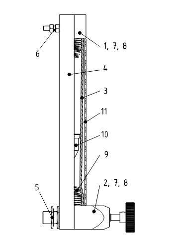
1) Tête ( ici : sortie verticale, modèle B1)
2) Vanne de réglage
3) Tube de mesure conique en verre
4) Profil en U pour têtes ou vanne de dosage
5) Connexion raccords G ¼ ou G ½
6) Écrou M5 ou M8
7) Joints toriques (dans 1 et 2), non représentés.
8) Joints plats (dans 1 et 2) non représentés

Principe
  • Lecture directe sur tube de verre calibré
  • Eau : 0,1 – 1 l/h ... 1,2 m³/h
  • Air : 0,3 – 3 l/h ... 16 m³/h
  • Tube de mesure conique en Pyrex®
  • Connexions : G ¼" ou ½"
  • OPTIONS :
    Vanne réglage débit
    Contacts Reed ou inductifs - Sortie 4-20mA
APPLICATIONS

Les débitmètres SGK 1-3 sont utilisés pour la mesure et la visualisation directe des très faibles débits sur les gaz et les liquides . Ces débitmètres sont conçus pour être utilisés dans des installations avec un espace réduit, laboratoires, locaux techniques.

DESCRIPTION

Le principe de mesure est celui du débitmètre à section variable, obtenu avec un flotteur qui se déplace à l’intérieur d’un tube verre conique calibré. Le tube en verre (3) est étanché à chaque extrémité par un joint torique protégé contre la rupture par des joints plats insérés dans les éléments (1) et (2)
Ces débitmètres peuvent être équipés d’une vanne de réglage et recevoir des contacts Reed ou inductifs. la sortie contact peut être raccordée à un automate ou sur un appareil de surveillance. La version GK2 peut recevoir une réglette avec capteur à effet hall pour une transmission d'un signal 4-20 mA ou 0-10 Volt.

Les différentes versions :

SGK-1   Mesure des plus petits volumes d'Eau ou d'Air
SGK-2   Mesure de petits à moyens volumes d'Eau ou d'Air
SGK-3   Mesure de petits volumes d'Eau ou d'Air
...-MSK1   Avec contact bistable NF
...-MSK12   Avec contact bistable NO
...-MSKW   Avec contact bistable inverseur
...-RC ¹⁾   Avec contact inductif
...-EM ²⁾   Avec sortie analogique 4-20 mA ou 0-10 V


¹⁾ : Pour les débits inférieurs à : 2 l/h H₂O ou 80 l/h Air
²⁾ : Uniquement sur version SGK-2, (autres plages de débits sur demande)

Les contacts :
Ces débitmètres peuvent être équipés d’un flotteur aimanté et de contacts électriques Reed réglables sur toute la plage de mesure. Pour les petits débits (jusqu'à 30 l/h), on utilisera une détection par contact inductif série RC.

Sortie 4-20 mA ou 0-10 Volt :
La sortie est obtenue en disposant un capteur de déplacement linéaire à effet Hall.
Un signal 4-20 mA ou 0-10 Volt image de la position du flotteur en résulte. Le capteur est raccordé par l'intermédiaire d'un connecteur M12.
Cette sortie sera très utile pour l’intégration du signal analogique sur un automate.
De conception compacte il permet l'affichage d'une mesure avec un haut niveau de répétabilité.

Catalogue Général 728-05
30/01/2026 11:49
Débitmètre pour faible débit
SGK 1-3
Notre équipe toujours à votre disposition
Demande de DEVIS en ligne
BAMO Mesures SAS
22, Rue de la Voie des Bans
Parc d'activités de la Gare
95100 ARGENTEUIL France
Tél. : 01 30 25 83 20
Fax : 01 34 10 16 05
Mél. : info@bamo.fr
Site : http://www.bamo.fr
Siret : 314 055 864 000 65
TVA Intra : FR 08 314 055 864
APE : 4669 B
Capital : 400 000 Euros
Une réalisation de CARIMEDIA depuis 1998
© 1998-2026 Tous droits réservés - Mentions Légales